aode8-db-optimizer WordPress免费的数据库优化清理插件
作者:小编日期:2025-05-29浏览:5098分类:只有源码
[color=var(--theme-color)]奥德彪[color=var(--theme-color)]数据库优化清理[color=var(--theme-color)]WordPress插件版本:1.0.0
[color=var(--theme-color)]插件简介
这款插件专为 [color=var(--theme-color)]WordPress 设计,能有效优化和清理数据库,提升网站性能。通过精简数据库,插件可减少服务器负载,加快页面加载速度,并释放[color=var(--theme-color)]存储空间。
主要功能
分析并优化所有 [color=var(--theme-color)]WordPress 数据表,回收未使用空间。
清理文章修订版本,减少数据库冗余。
删除垃圾评论和未批准评论,保持数据库整洁。
清理过期的临时数据(transients),释放缓存空间。
提供单表操作(优化、检查、修复),方便精细管理。
直观展示数据库状态(大小、表数量、碎片信息)。
清晰显示各数据表的用途说明(通过 "备注" 列)。
安装与使用
安装
将插件文件上传至wp-content/plugins/目录。
在 [color=var(--theme-color)]WordPress 后台激活插件。
访问插件
登录 WordPress 后台,点击左侧菜单中的 "数据库优化"(带有数据库图标)。
执行优化
在优化页面选择需要执行的操作(如优化表、清理修订版本等)。
点击 "开始优化" 按钮,等待处理完成。
查看详细的优化结果报告。
单表操作
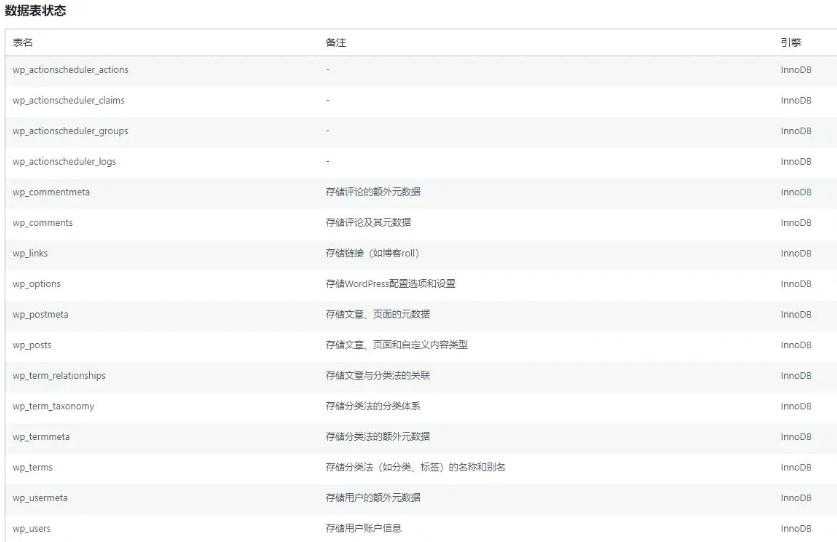
在 "数据表状态" 区域,可对单个表执行优化、检查或修复操作。
数据表备注说明插件在数据表状态中新增了 "备注" 列,显示各表的主要用途,例如:
wp_posts:[color=var(--theme-color)]存储文章、页面和自定义内容类型。
wp_comments:存储评论及其元数据。
wp_options:存储 WordPress 配置选项和设置。
wp_postmeta:存储文章、页面的额外元数据。
wp_terms:存储分类法(如分类、[color=var(--theme-color)]标签)的名称和别名。
注意事项
建议在执行优化前备份数据库,以防[color=var(--theme-color)]数据丢失。
优化操作可能需要一些时间,具体取决于数据库大小。
清理修订版本和评论将永久删除数据,请谨慎操作。
插件支持 WordPress 多站点环境,可安全用于网络站点。
下载地址:https://xiaok.lanzoum.com/iEJ5J2xer4sj
相关文章
- 05-01 全新多平台电商代付商城源码
- 05-01 影视脚本分镜在线协作系统源码
- 05-01 苹果cms10魔加主题1.1.6破解版支持苹果cms全部版本(附原版)
- 05-01 海外汽车电气投资理财源码/三级分销/可自定义产品
- 04-28 2026新版海螺影视主题模板M3.1全解密版
- 04-28 仿3500游戏源码大气H5游戏门户网站模板源码_帝国CMS
- 04-28 最新资源站7B2-WP主题源码 - WordPress主题 附教程
- 04-28 仿玩游戏网源码大型游戏资讯门户网站源码 帝国CMS模板
- 04-28 苹果cms蓝色小鸟主题,简约响应式
- 04-26 苹果CMSv10 仿爱电影MizhiADY模板源码
- 04-26 仿爱客响应式模板 苹果CMSv10仿爱客响模板
- 04-26 某宝卖400的仿短视的自适应苹果cms模板
取消回复欢迎你发表评论:
- 协助本站优化一下
- 最近发表
- 1【三号动漫】1.4.0 海量动漫资源免费看 VIP
- 2全新多平台电商代付商城源码
- 3影视脚本分镜在线协作系统源码
- 4苹果cms10魔加主题1.1.6破解版支持苹果cms全部版本(附原版)
- 5海外汽车电气投资理财源码/三级分销/可自定义产品
- 6【小小追书】5.0.2 免费小说 无广告
- 7 【眼福】网红小希裸拍刀马刀马 没穿哦~~小庚网专属福利
- 8笔趣小说V1.0.6 书海畅游,尽在掌握
- 9【书海阁】1037 海量书源任你选 免费无广告
- 10TikTok v44.9.2 @tiktokupdatez 解锁修改版
- 11QuickEdit 文本编辑器app v1.12.10 b272 破解版
- 12MobiOffice办公套件app v16.3.59626 破解版
- 13Kilonotes 千本笔记 v3.26.1.1 破解VIP版
- 14PhotoRoom抠图工具 v2026.17.05 破解专业版
- 15YouCam Makeup 玩美彩妆 v6.42.3 破解版
Copyright© XGW9.COM版权所有〖小庚资源网〗
〖恒创科技〗为本站提供专业云计算服务
本站发布的内容来源于互联网,如果有侵权内容,请联系我们删除!E-mail:xgzyw6@outlook.com
关于我们|我要投稿|免责声明|XML地图













暂无评论,来添加一个吧。